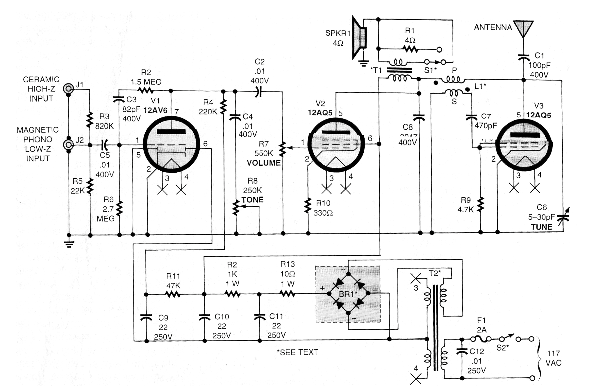
Este circuito utiliza tres válvulas para transmitir a corto distancia señales de un tocadiscos o micrófono, como una pequeña estación doméstica de radio. La antena puede tener de 1 a 5 metros y el transformador L1 es un transformador de FI de una radio antigua, desde donde se han retirado los condensadores.
También podemos enrollar 80 espiras de hilo 28 en un tubo de 2 cm sin núcleo para la bobina de cátodo y 20 espiras en el mismo tubo para la retroalimentación. T1 es un transformador de salida de radio antiguo valvulado. El transformador de forma tiene devanado de 100 a 50 V con 50 mA o más. El alcance puede llegar a los 200 metros.




