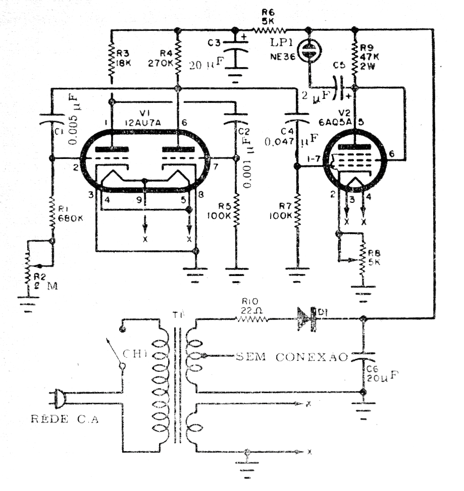
Este circuito fue encontrado en una publicación de 1966. Además de las válvulas y el transformador, el componente crítico es la lámpara neón de alta potencia. Una experiencia interesante sería comprobar si el circuito funciona con una lámpara electrónica que tiene el circuito retirado (sólo la lámpara). Se puede probar una lámpara quemada para ello. El transformador tiene un secundario de 250 + 250 V con 25 mA o más.




