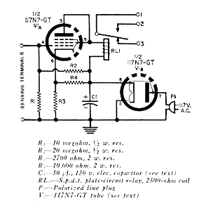
Este circuito fue encontrado en un artículo de la revista Electronics World de enero de 1961. Se trata de un sensible accionador de relé a partir de señales de poca intensidad, es decir, un controlador de relé para circuitos valvulados y otros que suministran señales de pequeña intensidad de resistencia muy alta.
La válvula 117N7 tiene un filamento que puede ser alimentado directamente por la red de energía. Se trata de un pentodo diodo que se utilizaba en pequeños tocadiscos portátiles de la época.
El relé es del tipo de 110 V de alta sensibilidad con una resistencia de bobina del orden de 2500 ohmios. Precaución: el circuito no está aislado de la red de energía.




