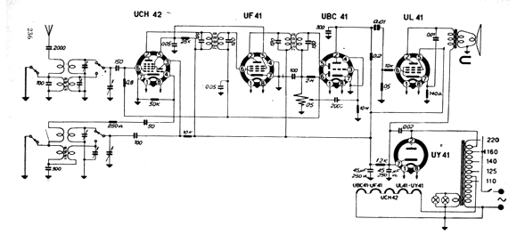
Este receptor de ondas medias Minerva 525/2 fue encontrado en una revista Técnica Práctica de Italia del año 1965. El circuito de 5 válvulas tiene un rectificador de media onda y los filamentos se conectan en serie alimentados por el auto-transformador. El circuito es de dos bandas de onda (medias y cortas) conmutadas en dos juegos de bobinas. Se trata de un circuito clásico, encontrado en la mayoría de los receptores de la época.




