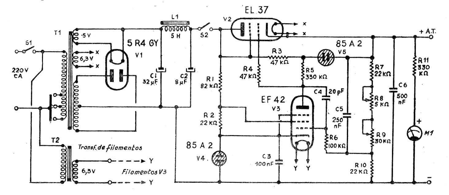
La fuente estabilizada que describimos puede proporcionar tensiones de 200 V a 300 V bajo una corriente máxima de 50 mA. Se trata de circuito típico de la era de las válvulas, con aplicaciones en la bancada de proyectos valvulados. El gran problema de este circuito está en la obtención de los transformadores.
El transformador utilizado en este proyecto debe tener bobinas de alta tensión de 350 + 350 V más baja tensión de 5 V para la válvula rectificadora. También tenemos un transformador adicional de 6 V para los filamentos de las demás válvulas.
Observe la existencia de una válvula reguladora de tensión 85A2 que es una especie de zener-válvula utilizada en los circuitos de aquella época como referencia y regulación de tensión. El circuito de la fuente se da en la figura 1.
El instrumento M1 tiene un fondo de escala de 1 mA que sirve para indicar la tensión de salida. Los ajustes de la tensión de salida se realizan en dos potenciómetros, siendo uno el ajuste fino.
La tensión de trabajo de los electrolíticos de la fuente debe ser de al menos 600 V y los resistores son de ½ W. El circuito está indicado para la red de 220 V, pero puede funcionar en la red de 110 V con el uso de un transformador con primario para esta tensión.




