Se el lector da la suerte de encontrar en alguna chatarra un osciloscopio viejo o incluso un tubo de rayos catódicos (TRC) del tipoDH3-91 1CP1, puede montar un osciloscopio que le permitirá visualizar señales hasta unos 300 kHz. Se trata, por tanto, de un instrumento ideal para trabajar con circuitos de audio.
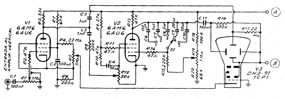
El circuito presentado utiliza dos válvulas, siendo una amplificadora para las señales (6AU6) y la otra (6AU6) para generar la señal diente de sierra de barrido en 5 bandas diferentes seleccionadas por una llave.
El tubo indicado es bastante pequeño, teniendo sólo 3 cm de tela, lo que hace posible el montaje de un instrumento de pequeñas dimensiones.
La sensibilidad del circuito hace que las señales de 1,5 V de amplitud causan una visualización de pantalla completa en el instrumento.
En la figura 1 tenemos el diagrama completo del osciloscopio miniatura descrito.
La fuente de alimentación para este circuito se da en la figura 2.
En la fuente, los diodos pueden ser 1N4007 y los capacitores de filtro tienen tensiones de trabajo de 400 V o más.





