Las cápsulas de reluctancia variable posibilitaban la mejor calidad de reproducción para los discos en las décadas de 50 y 60, cuando este tipo de aparato alcanzó su auge. Lo que llevamos a los lectores es un preamplificador para este tipo de cápsula, encontrado en equipos comerciales.
El circuito debe ser alimentado por una fuente con excelente filtrado y tensión de 80 a 100 V. Dado que la intensidad de la señal de la cápsula es muy pequeña y la válvula es de alta impedancia de entrada, todo cuidado es poco para evitar la captación de zumbidos .
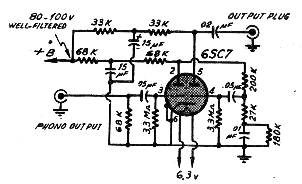
El circuito tanto puede formar parte de un amplificador de potencia como montado por separado para funcionar con un tocadiscos que posea este tipo de cápsula, lo que ocurre con muchos coleccionistas. En la figura 1, el circuito completo del preamplificador que utiliza un doble triángulo 6SC7.
Recuerde que la tensión de filamento para la válvula es de 6,3 V pudiendo ser obtenida del propio transformador con el cual este circuito va a operar.




