Si usted tiene una fuente de alimentación no regulada y desea regulación para corrientes hasta 1 A de forma económica, este circuito puede ser utilizado.
Describimos el montaje de un simple regulador de tensión para corrientes hasta 1 A, utilizando un transistor y un diodo zener como componentes principales.
La tensión de salida depende del zener, que puede ser de 6V6 a 12 V para tensiones de 6 a 12 V.
La tensión de entrada debe ser de al menos 2 V más que la tensión de salida, pero menor de 20 V en todos los casos.
El transistor de potencia debe montarse en un radiador de calor.
Los electrolíticos son para 12 V o más y R1 depende de la tensión de la diferencia de tensión entre entrada y salida, conforme a la siguiente tabla:
2 a 6 V - 330 ohms
6 a 9 V - 470 ohms
9 a 12 V - 680 ohms
En la figura 1 tenemos el diagrama del regulador.
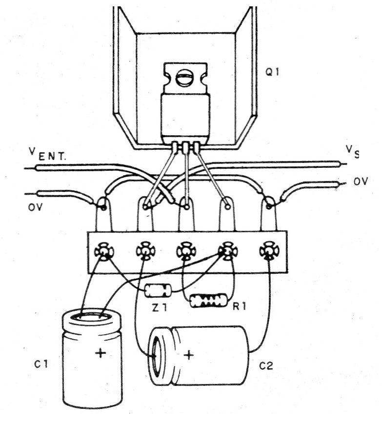
En la figura 2 tenemos su montaje en un puente de terminales.
En el montaje, observe la posición del circuito integrado y la polaridad del diodo zener y los capacitores electrolíticos.
Lista de material
CI-1 - 7806 - circuito integrado
Z1 - Zener según la tensión de salida - ver texto
R1 - ver texto
C1 - 10 uF - capacitor electrolítico
C2 - 100 uF - capacitor electrolítico
Varios:
Puente de terminales, caja para montaje, disipador de calor, hilos, soldadura.





