Cuando uno de los sensores está abierto, el microalarme emite un sonido que depende de R2 y del capacitor. El circuito tiene un consumo muy bajo en la condición de espera y puede ser alimentado por pilas. El consumo mayor se produce cuando se dispara.
El circuito consiste en un oscilador de audio con dos transistores capaz de excitar directamente un pequeño altavoz. Los sensores pueden ser hilos finos enlazados en objetos protegidos o sensores de tipo reed NF.
Para mayor intensidad de sonido podemos alimentar el circuito con 12 V y usar un TIP32 o BD136 en lugar de Q2. Este transistor debe dotarse de un radiador de calor y la alimentación debe efectuarse por fuente de al menos 500 mA. En la figura 1 tenemos el circuito completo de la alarma.
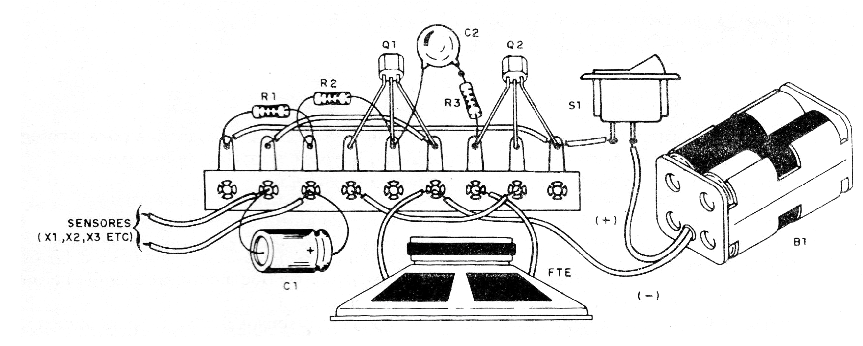
El circuito se puede montar en la matriz de contactos, placa de circuito impreso o puente de terminales. En la figura 2 mostramos el montaje en puente de terminales.
El número de sensores es ilimitado y pueden conectarse por hilos largos. No utilice fuente sin transformador para alimentar este circuito.
Lista de material
Q1 - BC548 - transistores NPN de uso general
Q2 - BC558 - transistores PNP de uso general (Para 12 V utilice el TIP32 o BD136 con radiador de calor)
R1, R2 - 47 k ohms x 1/8 W - resistor - amarillo, violeta, naranja
R3 - 1 k ohms x 1/8 W - resistor - marrón, negro, rojo
C1 - 100 uF x 12 V o más - capacitor electrolítico
C2 - 47 nF – capacitor de cerámica o poliéster
S1 - Interruptor simple
X1, X2, X3 - sensores - ver texto
B1 - 3 V o 6 V - 2 o 4 pilas - para 12 V, cambiar Q2
FTE - 4 ó 8 ohms - altavoz de al menos 10 cm
Varios: puente de terminales, soporte de pilas o fuente, hilos, soldadura, etc.





