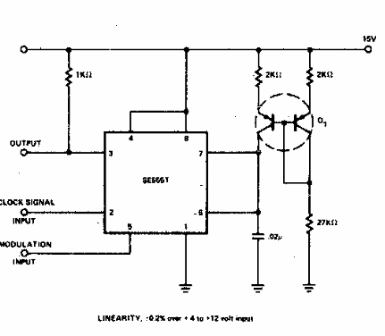
Este modulador lineal se encontró en documentación antigua. El circuito integrado utilizado es poco común hoy en día, así como el doble transistor que consta de un par casado.

Modulador de ancho de pulso
Este modulador lineal se encontró en documentación antigua. El circuito integrado utilizado es poco común hoy en día, así como el doble transistor que consta de un par casado.
