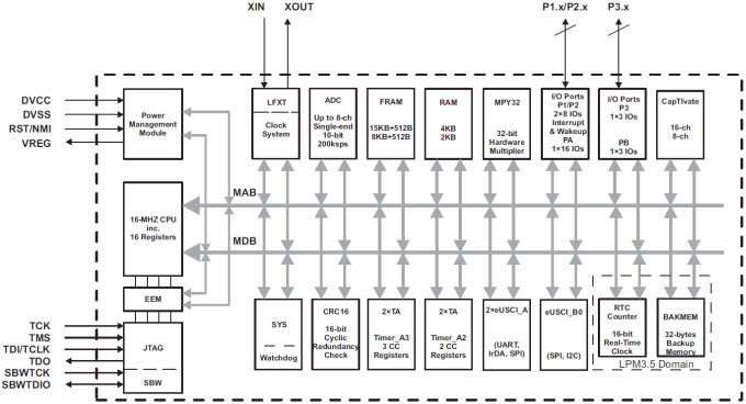
Se puede obtener de Mouser Electronics nuevos microcontroladores MSP430 de Texas de la serie con características de potencia ultra baja sobre basados en FRAM está diseñado para aplicaciones en los teclados táctiles, BSW y aplicaciones de proximidad. La arquitectura es de 16 bits RISC y tienen una corriente de reposo de sólo el 1,7 µA. Ver más en: http://www.mouser.com/new/Texas-Instruments/ti-msp430fr263x-msp430fr253x/




