Esta fuente simple de baja tensión no regulada puede ser usada para alimentar sus proyectos experimentales que necesitan de 6 a 8 V con corrientes hasta unos 100 mA. El circuito puede incluso aprovechar componentes de chatarra.
Describimos el montaje de una fuente simple experimental para proyectos que puedan ser alimentados por tensiones de 6 a 8 V.
El circuito es de una fuente no regulada simple, sirviendo para los proyectos menos críticos que admite una cierta gama de tensiones, sin la necesidad de regulación.
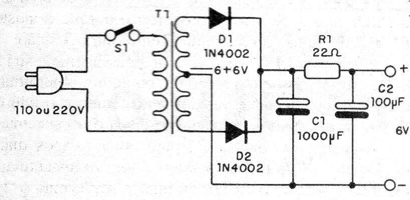
En la figura 1 tenemos el diagrama completo de la fuente.
Por tratarse de un diseño muy simple, puede ser elaborado sobre la base de un pequeño puente de terminales, pero nada impide que el lector elabore una placa de circuito impreso.
El transformador puede tener corrientes de 200 a 600 mA y tensión de secundario de 4,5 + 4,5 V o 6 + 6 V.
En el montaje, observe la polaridad de los diodos y de los condensadores electrolíticos.
Los condensadores tienen una tensión de trabajo de 12 V o más.
Lista de material
D1, D2 - 1N4002 o 1N4004 - diodos rectificadores
T1 - Transformador con primario según la red local - ver texto
S1 - Interruptor simple
F1 - 500 mA - fusible
R1 - 22 ohms x 2 W - resistor - rojo, rojo, negro
C1, C2 - 1 000 uF - capacitores electrolíticos - 12 V o más
Varios:
Cable de fuerza, puente de terminales, hilos, soldadura, caja para montaje, garras roja y negra para la salida, etc.





