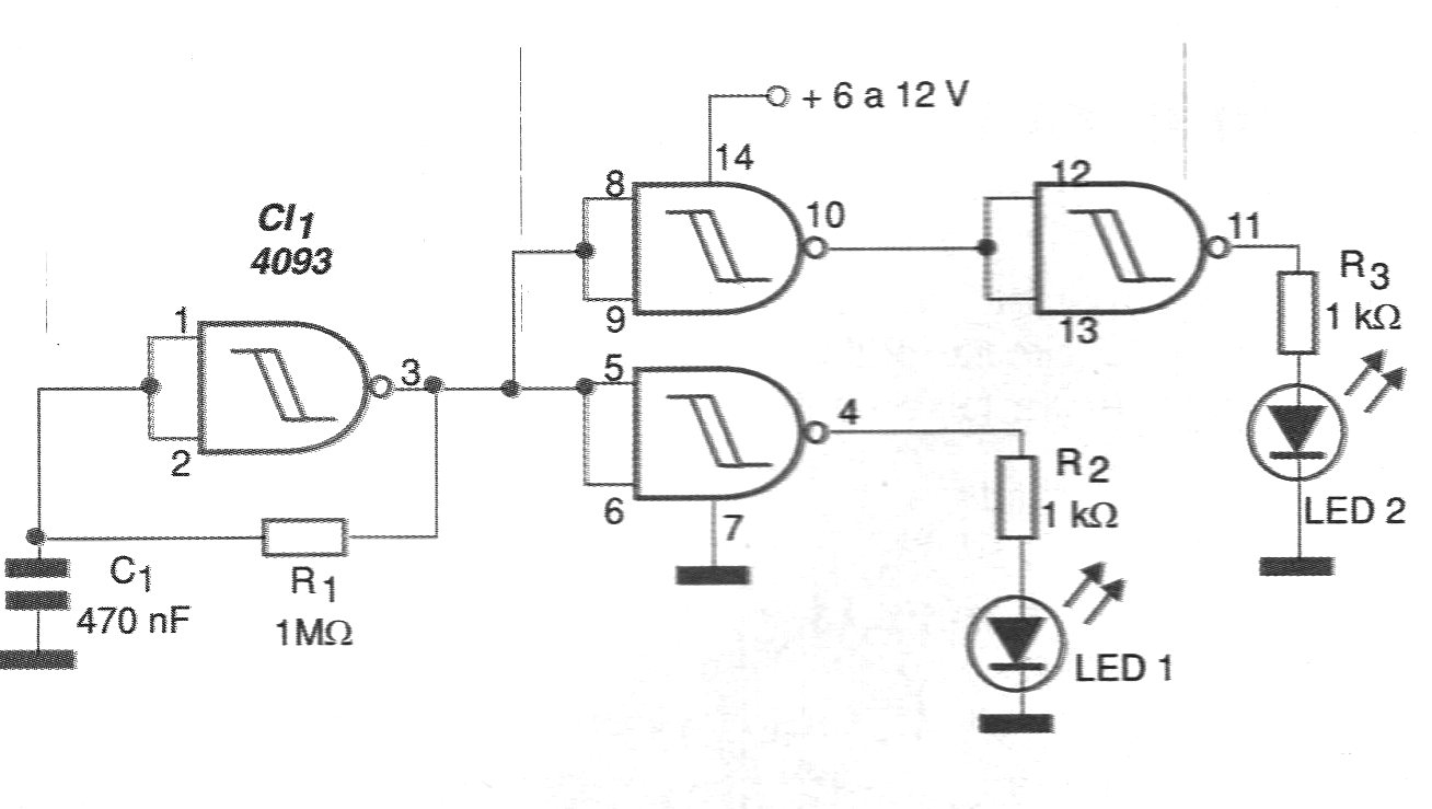
Este circuito puede ser interesante para generar señales de advertencia en paneles de máquinas u otros lugares en los que una luz que parpadea alternativamente cambiando de verde a rojo sea necesario.
El oscilador mostrado en la figura 1 puede accionar tanto dos LEDs separados como un LED bicolor en una frecuencia que depende tanto de R1 y R2.
Estos componentes se pueden cambiar en una amplia gama de valores. Los resistores R2 y R3 también se pueden cambiar en función de la tensión de alimentación para obtener mayor o menor brillo para los LED.
Se recomiendan valores entre 330 ohms y 1 k ohms. El mismo circuito puede excitar pasos de mayor potencia para activar lámparas, incluso conectadas a la red de energía si se utilizan SCR.
En la figura 2 tenemos una sugerencia de placa de circuito impreso para la implementación de este sistema de aviso luminoso.

LISTA DE MATERIAL
CI-1 - 4093 - circuito integrado CMOS
LED1, LED2 - LED rojo y verde o bicolor
R1 - 1 M ohms x 1/8 W - resistor
R2, R3 - 1 k ohms x 1/8 W - resistores
C1 - 470 nF - capacitor de cerámica o poliéster
Varios:
Hilos, soldadura, placa de circuito impreso, etc.




