Este receptor de radio AM experimental puede captar las estaciones locales más potentes. Es necesario contar con una antena de 2 a 20 metros para obtener buenos resultados. La conexión a tierra hecha en cualquier objeto de metal de gran tamaño como una ventana o puerta es importante;
Como auriculares podemos utilizar tipos de alta impedancia o un pequeño altavoz con el transformador de salida. El resistor R1 debe ser obtenido experimentalmente alrededor del valor indicado para obtener mayor sensibilidad. En la figura 1 tenemos el diagrama completo del receptor.
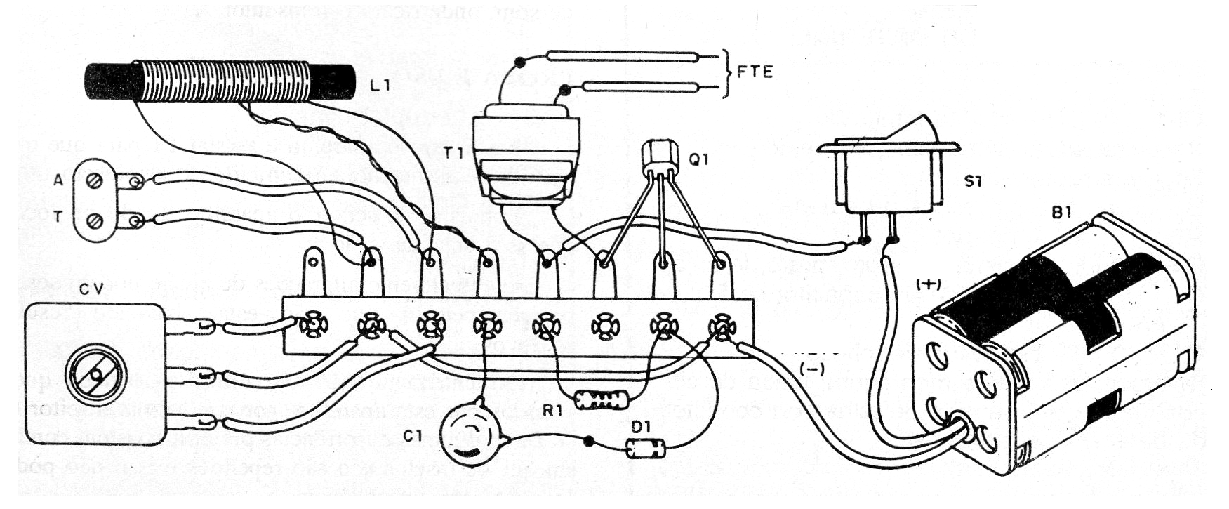
L1 consta de 30 + 50 espiras de hilo 28 en un bastón de ferrita. La toma es hecha a partir de las 30 espiras contadas del Aldo de tierra. CV es una variable obtenida en radios transistorizados antiguos, así como el altavoz y el transformador de salida. Los demás componentes son comunes. En la figura 2 tenemos el montaje en un puente de terminales.
Lista de material
Q1 - BC548 - transistores NPN de uso general
D1 - 1N34 o equivalente - diodo de germanio
L1 - Bobina de antena - ver texto
CV - Condensador variable - ver texto
T1 - Transformador de salida - ver texto
FTE - 4 ó 8 ohms - altavoz pequeño
S1 - Interruptor simple
B1 - 6 V - 4 pilas pequeñas
C1 - 100 nF - capacitor de cerámica o poliéster
R1 - 4,7 M ohms x 1/8 W - resistor - amarillo, violeta, verde
Varios: puente de terminales, soporte de pilas, antena, cables, soldadura, etc.





