Esta alarma emite un sonido cuando el agua o la humedad en un vaso o recipiente desaparecen indicando así la necesidad de irrigación. Los electrodos son dos hilos en contacto con la tierra o el agua o aún pueden ser enterrados en el suelo en un jardín.
El circuito tiene un ajuste de sensibilidad y es muy sensible pudiendo detectar variaciones muy pequeñas del grado de humedad del suelo. La alimentación del circuito se realiza por 4 pilas pequeñas y en la condición de espera, es decir, en silencio el consumo es muy bajo.
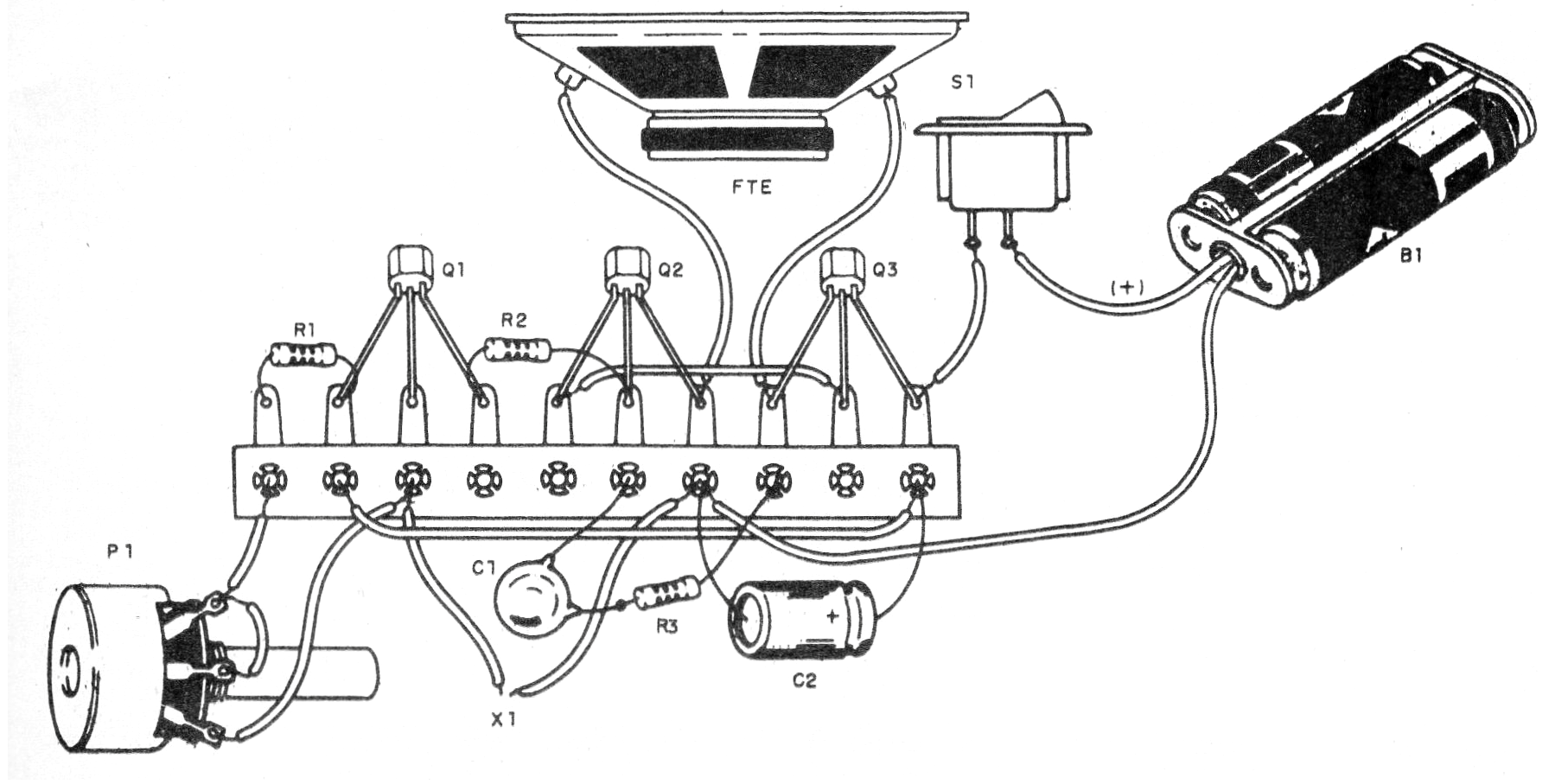
El volumen del sonido generado es razonable dependiendo de la tensión de alimentación. En la figura 1 tenemos el diagrama completo del aparato.
El sensor está formado por dos pedazos de hilo rígido con las puntas peladas de al menos 10 cm para tener contacto directo con la tierra. El altavoz puede ser de cualquier tipo y los demás componentes son comunes. Para suelos muy secos aumente el tamaño del electrodo.
Lista de material
Q1 y Q2 - BC548 o equivalente - transistores NPN de uso general
Q3 - BC558 o equivalente - transistores PNP de uso general
R1- 100 k ohms x 1/8 W-resistor - marrón, negro, amarillo
R2 - 10 k ohms x 1/8 W - resistor - marrón, negro, naranja
R3 - 1 k ohms x 1/8 W-resistor - marrón, negro, rojo
P1- 2,2 M o 4,7 M - trimpot o potenciómetro
C1 - 100 nF - capacitor de cerámica o poliéster
C2- 100 uF x 6 V o más - capacitor electrolítico
FTE - 4 ó 8 ohms - altavoz
X1- Sensor - ver texto
S1 - Interruptor simple
B1- 3 o 6 V - 2 o 4 pilas pequeñas
Varios: puente de terminales, soporte de pilas, caja para montaje, hilos, soldadura, etc.





