
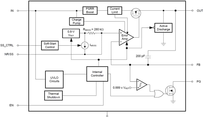
Mouser Electronics tiene en su stock el kit de evaluación para el regulador de tensión lineal de baja caída de tensión (LDO) TPS7A90 de Texas Instruments para tensiones de 1,4 a 5 V de salida ajustable a través de resistores externos. La corriente es de 500 mA.



