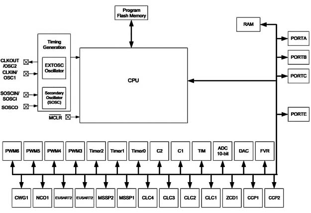
De marzo de 2017 - Se puede obtener de Mouser Electronics el nuevo PIC16F15354 microcontrolador de 8 bits de Microchip. El nuevo PIC contiene periféricos esenciales tales como el tipo analógico inteligente, independiente del núcleo y XLP recurso de bajo consumo.
Clique aquí para ver las hojas de datos




