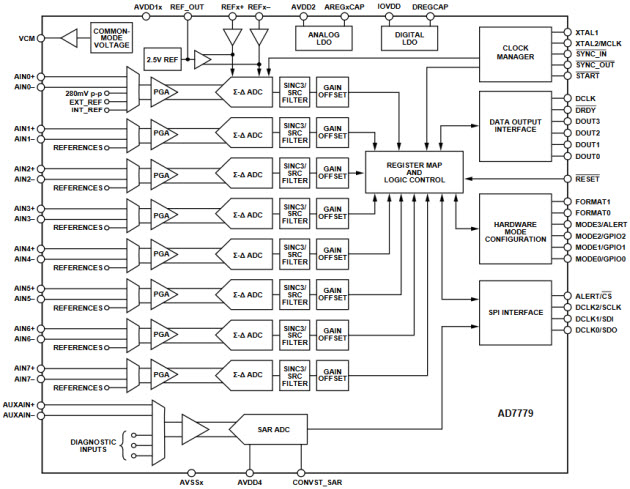
Septiembre de 2016 - Se puede obtener de Mouser Electronics el nuevo ADC AD7779 de Analog Devices con muestreo simultáneo de 8 canales de 24 bits con un rango dinámico de 112 dB a 8 kSPS. El nuevo componente está diseñado para la adquisición de datos en aplicaciones generales, industriales y médicos.
Clique aquí para ver las hojas de datos




