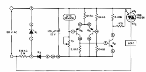
Este circuito con sensor NTC fue publicado en un manual técnico de la RCA de 1972. El resistor Rp de ajuste depende del valor de la resistencia del NTC, debiendo ser del mismo orden. El circuito integrado utilizado consiste en un arreglo de transistores. La configuración se puede cambiar para usar transistores casados o amplificadores diferenciales.




