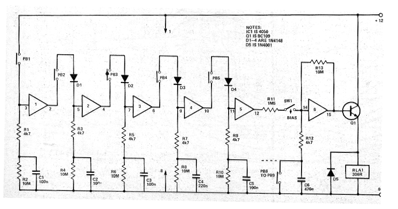
Este circuito es de una revista inglesa de 1981. Se trata de una clave de código que activa un relé sólo si una secuencia de 5 teclas se presiona en un intervalo de tiempo determinado. Estas llaves son de PB1 a PB5 en el circuito. Las demás teclas del teclado si se presionan restan el circuito. Son de PB6 a PB9. La alimentación es de 12 V y el relé utilizado es de 12 V x 50 mA. Se puede utilizar una tensión más baja si se emplea un relé apropiado.




