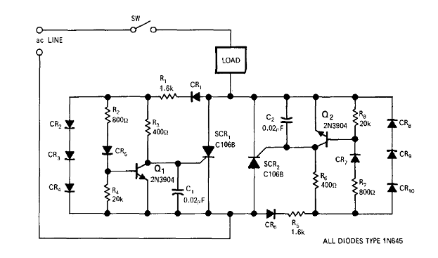
Este circuito hace la conmutación de una carga en 0,013 ms después del cierre del interruptor y después del inicio de cada ciclo. Los SCRs deben tener capacidades de corriente de acuerdo con la carga y los transistores pueden ser los BC548. El circuito es de una documentación técnica de 1971. Los SCR deben montarse en disipadores de calor.




