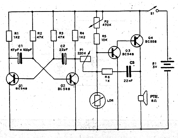
Cuando la luz se apaga. este grillito empieza a “cantar”. perturbando al que intente dormir. El ajuste de frecuencia del canto se hace en P2 y de la intermitencia en P1. Dependen ambos de C1 , C2 y C3. El LDR debe quedar expuesto y vuelto hacia la luz ambiente. El parlante es miniatura de 2,5 a 5 cm con 4 u 8 ohm.




