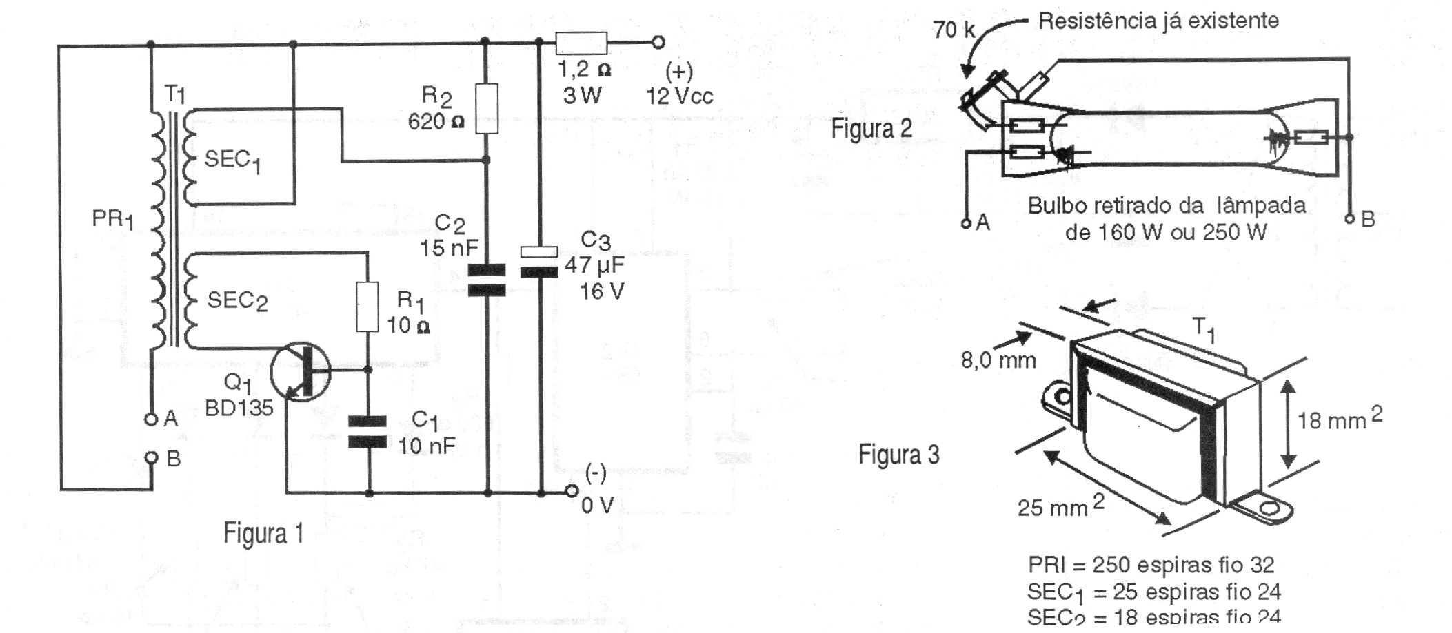
Este convertidor simple fue encontrado en una documentación de 1997. Su finalidad es aplicar una alta tensión en una lámpara mixta de modo que el gas en su interior sea ionizado, produciendo una luz azulada de efecto decorativo. El circuito utiliza un transformador de construcción casera que se detalla en el dibujo.




