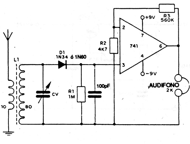
Esta radio experimental opera en la banda de ondas medias. El variable es común para radios de OM, y la bobina tiene primario con 10 espiras de alambre, AWG 28 enrolladas sobre el secundario que consiste en 80 espiras del mismo alambre en bastón de ferrite de 1 cm x 10 cm EI audífono debe ser obligatoriamente magnético con por lo menos 1 k o 2 k de impedancia.




