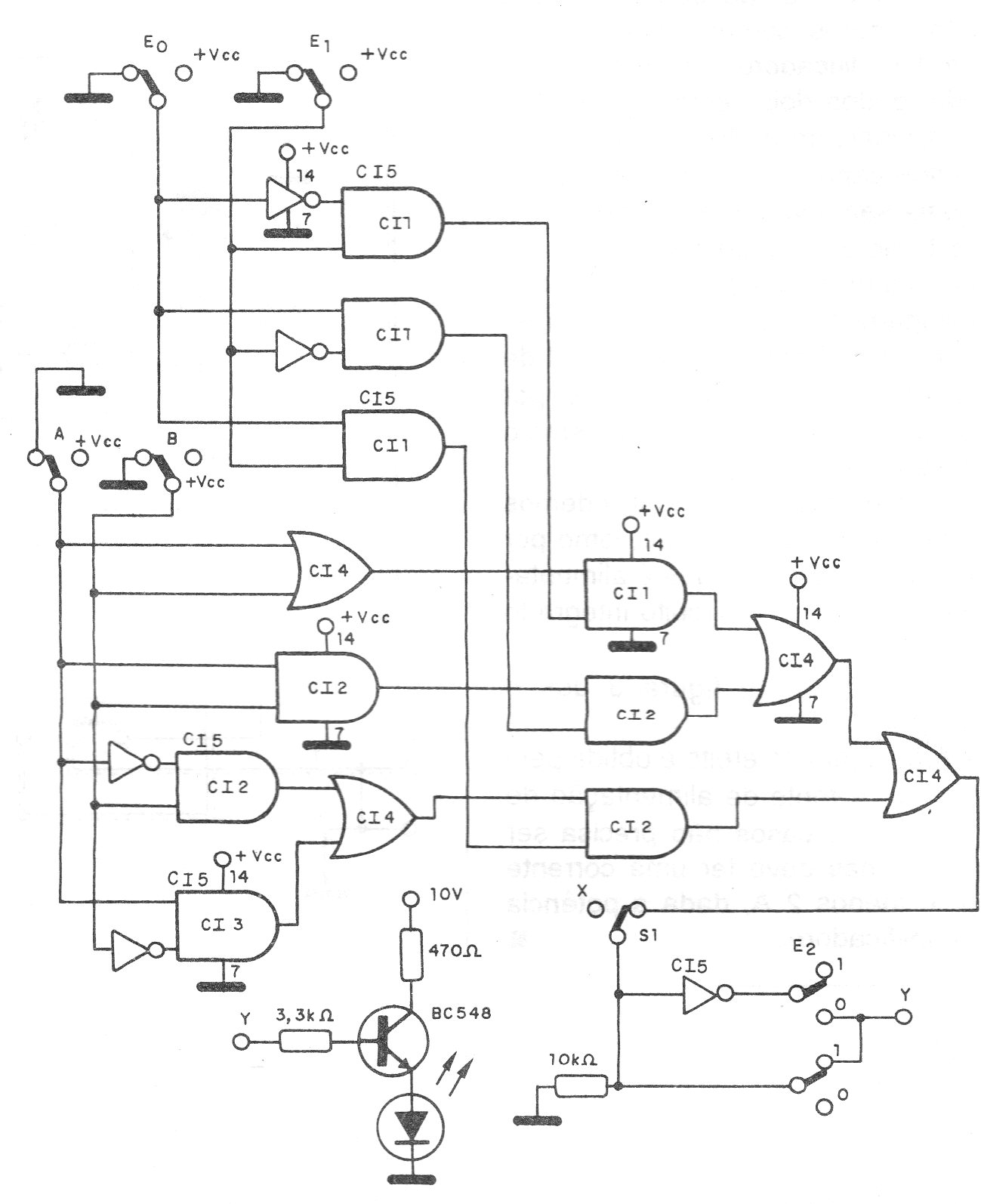
Este circuito que tiene un fuerte llamamiento didáctico, simula funciones lógicas, pudiendo ser utilizado en clases de electrónica digital. El circuito es de una documentación de 1994 y en su salida lo que tenemos es un indicador LED o la posibilidad de aplicación de la señal a un circuito externo. La alimentación se puede realizar con tensiones de 6 a 12 V.





