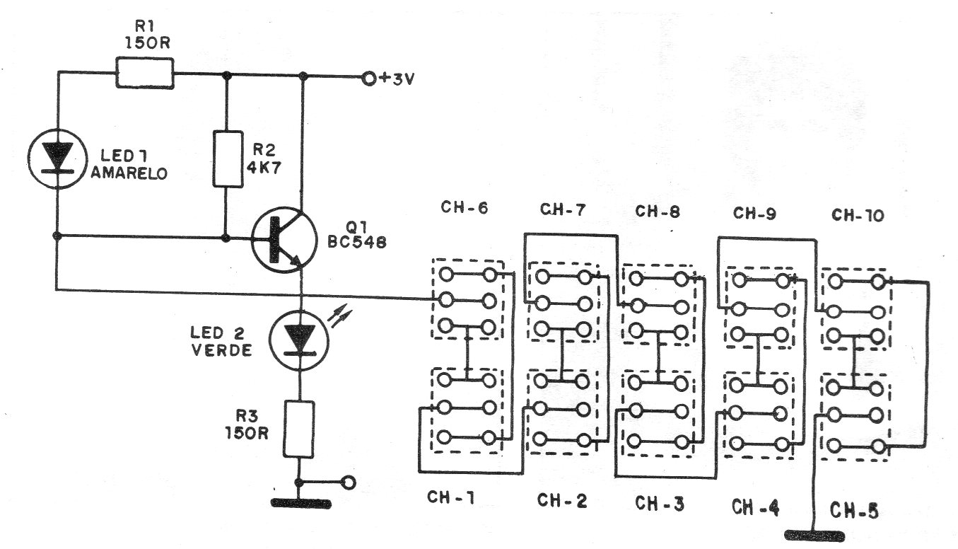
Este circuito fue obtenido en una documentación técnica de 1987. El circuito acciona un LED cuando la contraseña correcta es ajustada por las llaves. El circuito puede adaptarse fácilmente para accionar un relé y con ello liberar una cerradura u otra acción que se desee.




