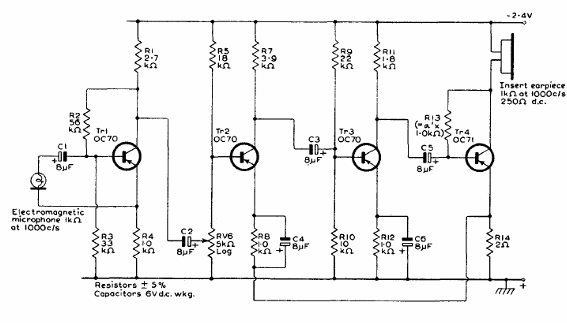
Este amplificador para ayuda auditiva fue encontrado en el manual de referencia de transistores de la Mullard de 1960. El circuito es alimentado por una sola batería de 2,4 V.

Este amplificador para ayuda auditiva fue encontrado en el manual de referencia de transistores de la Mullard de 1960. El circuito es alimentado por una sola batería de 2,4 V.
