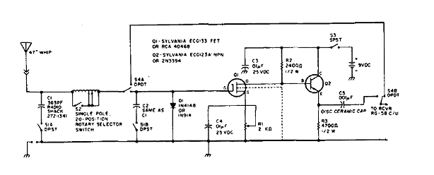
Este circuito amplifica señales de 2 a 30 MHz. El MOSFET puede ser de cualquier tipo para señales y el transistor el BF494 o 2N2222. El circuito es de una documentación de 1977. La bobina consta de 160 espiras de hilo 28 en una forma de ½ pulgada con tomas de 20 en 20 espiras.




