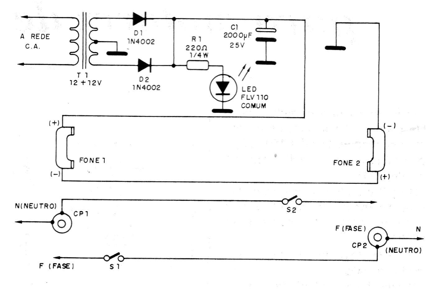
Este circuito muestra cómo podemos aprovechar dos teléfonos antiguos en un sistema de comunicación simple. El circuito incluye dos cigarras para la llamada. La distancia entre los hilos puede ser de algunas decenas de metros. Las llamadas se realizan presionando S1 y S2. Encontramos este circuito en una documentación de 1992.




