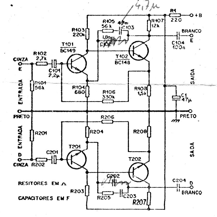
En los años 70 Ibrape (Brasil) lanzó un excelente kit preamplificador de audio para ser utilizado en amplificadores de la época. Con alimentación entre 6 y 19 V presentaba una ganancia de 35 dB con una sensibilidad de entrada de 4,3 mV. Su salida era de 250 mV con una impedancia de 100k. El mismo circuito se puede montar con los BC548 y BC549.




