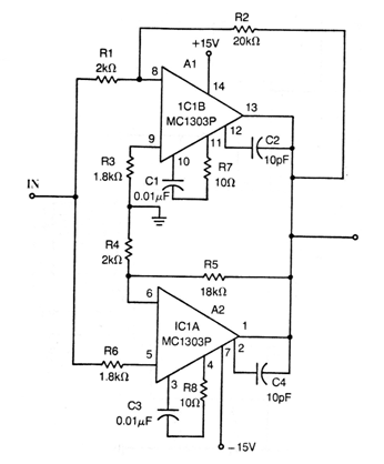
La tensión de salida de este circuito con antiguos amplificadores operativos de Motorola es el valor absoluto de la tensión de entrada. El circuito puede ser implementado con amplificadores operacionales más modernos y los componentes con valores no estandarizados actuales pueden ser reemplazados por valores cercanos. El circuito es de la década de los 70 y la tensión de alimentación de la fuente simétrica puede ser alterada.




