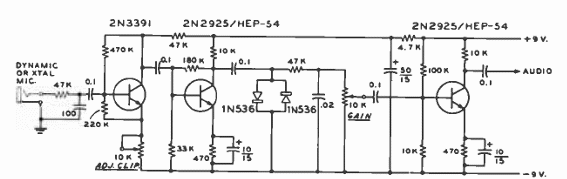
Este amplificador evita los picos de sobremodulación de un micrófono dinámico o de cristal conectado a la entrada de un transmisor. Los transistores admiten equivalentes. El circuito es de una publicación de telecom de 1976. El ajuste de ganancia se hace en un potenciómetro.




