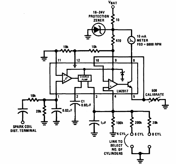
Encontramos este circuito en el Linear Applications Handbook de National Semiconductor de 1994. El circuito utiliza un integrado LM2907 y conectado al terminal de la bobina de encendido que va al distribuidor.

Encontramos este circuito en el Linear Applications Handbook de National Semiconductor de 1994. El circuito utiliza un integrado LM2907 y conectado al terminal de la bobina de encendido que va al distribuidor.
