Amplificador Para Instrumentación (CIR5143S)
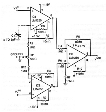
Con cambios, este circuito de una documentación de los años 70, puede ser adaptado para usar amplificadores operacionales más modernos. Los resistores de compensación de 18 M pueden ser eliminados en algunos tipos más modernos de operativos que poseen compensación interna. La fuente de alimentación debe ser simétrica y dependiendo del funcionamiento utilizado, su tensión debe ser aumentada. Los cuidados con el diseño son importantes para el rendimiento de este tipo de circuito. La ganancia de tensión del circuito es de 100 veces.




