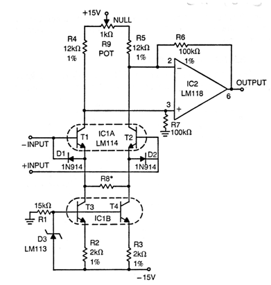
Este circuito es de una documentación técnica de los años 70. Él hace uso de transistores casados en envoltura única, que no son fáciles de obtener en nuestros días. Se pueden utilizar transistores comunes con ganancias iguales (parejas casadas). El operativo también puede ser de tipo más moderno. El circuito tiene un ajuste de nulo y, además, debe ser alimentado por una fuente simétrica. La impedancia de entrada es muy alta. El LM113 es un regulador de tensión de National Semiconductor, tampoco muy fácil de obtener actualmente.




