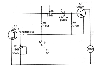
El transistor de este circuito encontrado en una antigua documentación americana puede ser el BC548 para T1 y BC558 para T2. El indicador puede ser un miliamperímetro o una escala baja de corrientes de un multímetro analógico. El trimpot de ajuste R3 puede ser de 22k o 47k y R1 puede ser de 4k7. Los electrodos son barras de metal que el interrogado debe sostener. La alimentación se realiza por batería de 9 V.




