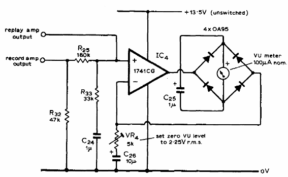
Este circuito es de una documentación de 1976. Los diodos pueden ser 1N34 o equivalente, y la alimentación no necesita ser simétrica. El circuito originalmente se utilizó en grabadoras. El instrumento también puede ser de 200 uA de fondo de escala.

Unidad para VU Meter con el 741 (CIR1339S)
Este circuito es de una documentación de 1976. Los diodos pueden ser 1N34 o equivalente, y la alimentación no necesita ser simétrica. El circuito originalmente se utilizó en grabadoras. El instrumento también puede ser de 200 uA de fondo de escala.




