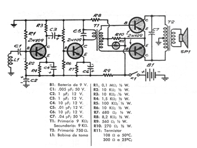
Este aparato funciona con teléfonos analógicos convencionales donde el auricular es del tipo magnético. La señal es captada por una bobina que consta de al menos 5 000 espiras de hilo muy fino. Se puede aprovechar el devanado primario de un pequeño transformador del cual se haya retirado el núcleo. Los transistores equivalentes actuales se pueden probar con pequeños cambios en las resistencias de polarización. Los transformadores se pueden obtener en radios transistorizados antiguos.




