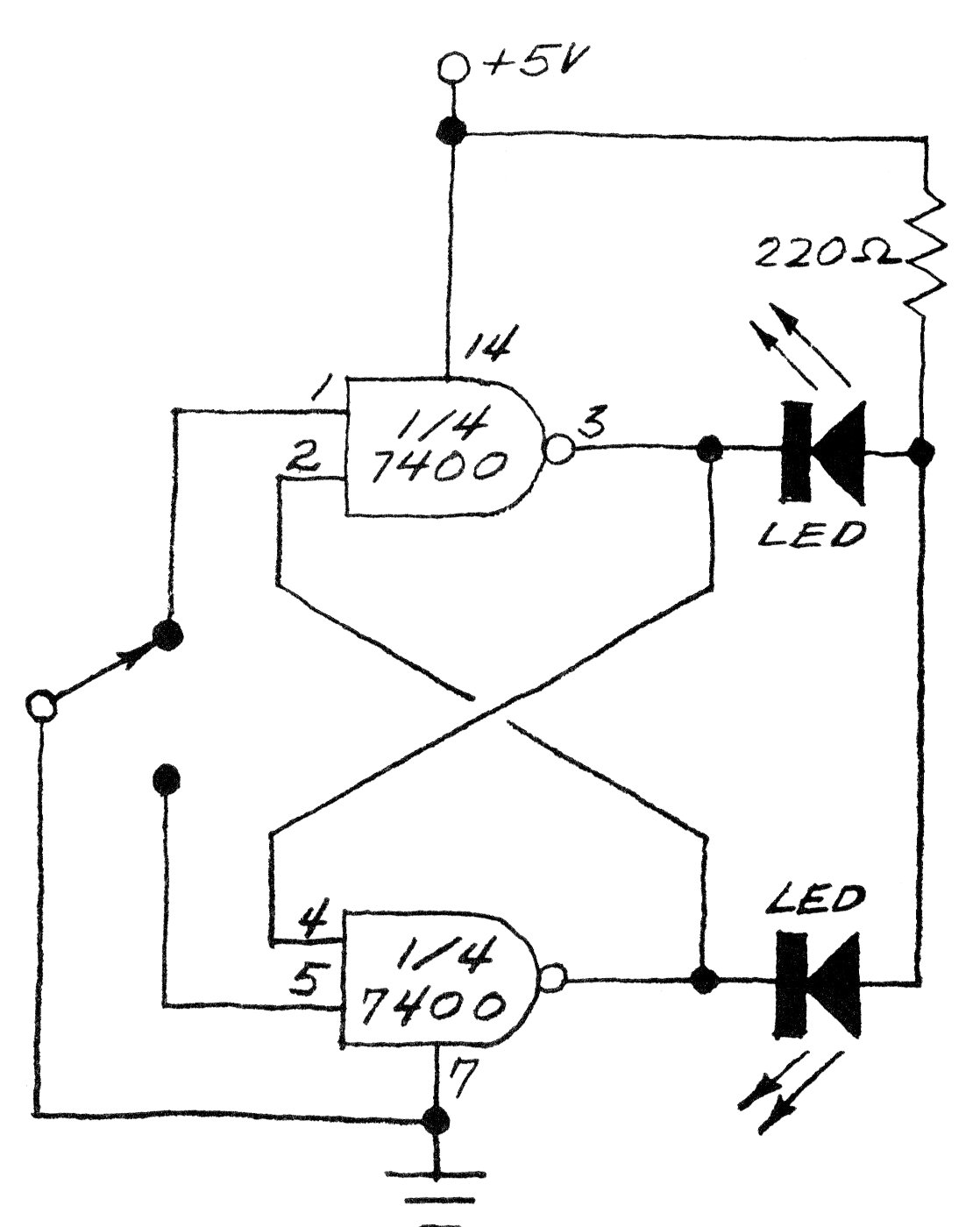
Este biestable o flip-flop TTL con el 7400 fue encontrado en una publicación de los años 80. Se trata de una versión didáctica que controla un LED y que debe ser alimentada con 5 V. El circuito puede ser adaptado para funcionar como un Shield para microcontroladores con los pines 1 y 5 utilizados como controles (set y reset).




