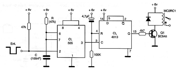
La activación de un relé a partir de pulsos (procedentes de un monoestable, por ejemplo) puede ser útil en diversos tipos de control. En la figura damos una configuración que usamos con frecuencia en nuestros proyectos por su funcionalidad y simplicidad. A cada pulso producido por el 555 que se obtiene de un sensor de entrada, el flip-flop cambia de estado y, consecuentemente, el relé también. El tiempo de duración del pulso de salida del monoestable (555) se calcula de modo que se evita la activación del sensor por más de un instante produciendo diversos pulsos de salida y con ello el accionamiento errático del circuito.




