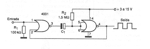
En la figura mostramos un monoestable que utiliza dos de las cuatro puertas disponibles en el 4001. La duración del pulso generado en la salida cuando se aplica un pulso de corta duración en la entrada depende del valor del capacitor C. Este componente puede tener valores en el rango de 1 nF a 100 uF.




