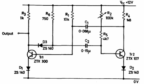
El circuito presentado por tener el ciclo activo ajustado en un rango de 10 a 1 y la frecuencia depende de los condensadores. El circuito es del manual de transistores de Ferranti de 1974. Los transistores actuales como los BC548 pueden ser utilizados.




