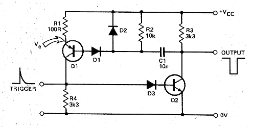
Este circuito fue encontrado en una publicaciõn de 1984. El autor lo llama de monoestable serial, por el hecho de usar transistores complementarios. Se trata de un circuito que mantiene la salida en el nivel bajo por un tiempo determinado por R2 y C1. Q1 puede ser un BC558 y Q2 puede ser del tipo BC548. Los diodos pueden ser de uso general como los 1N4148 El circuito funcionará con tensiones de 6 V a 12 V normalmente. El reloj es positivo en este circuito.




