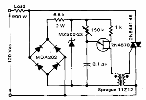
Este circuito genera dos disparos por ciclo de la tensión alterna para un control de onda completo. El circuito es de una publicación de Motorola de 1975, pudiendo usar triacs de la serie TIC y el unijunción puede ser el 2N2646. El zener puede tener tensiones de 15 a 25 V. La carga depende del Triac usado.




