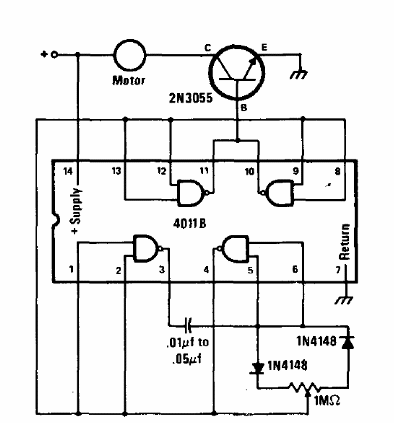
Este circuito PWM fue encontrado en una publicación americana de 1978. Se trata de un simple control que, en realidad, puede controlar motores de 3 a 12 V con corrientes hasta unos 3 A. El transistor debe estar dotado de un radiador de calor, motor es mayor que 1 A. El circuito se puede adaptar para operar como shield.




