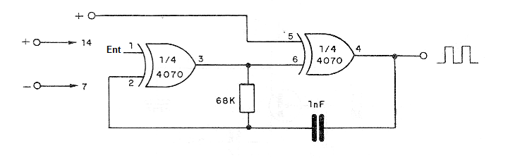
Este circuito permite utilizar una salida de un microcontrolador para generar señales de forma independiente para una segunda aplicación. El pulso se puede utilizar para controlar un motor, por ejemplo, y al mismo tiempo generar un tono de audio en un buzzer. Utiliza el integrado 4070 CMOS para generar señales rectangulares de 1 kHz. Esta frecuencia es dada por el capacitor de 1 nF. Este componente puede tener su valor cambiado para generar señales de otras frecuencias, con límite alrededor de algunos megahertz. La alimentación, hecha en los pinos 7 y 14 puede variar entre 3 y 5 V según la salida usada del microcontrolador.




