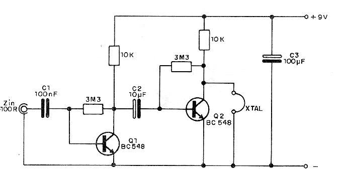
Este es un amplificador para auriculares de cristal o piezoeléctrico de muy alta impedancia. Como el consumo es extremadamente bajo, puede ser alimentado por una batería de 9 V. se recomienda este circuito como etapa de salida para radios de galena, receptores experimentales regenerativos y circuitos similares. Los resistores de 3M3 pueden eventualmente ser cambiados para obtener la ganancia y la fidelidad de reproducción de acuerdo con las características del auricular usado.




