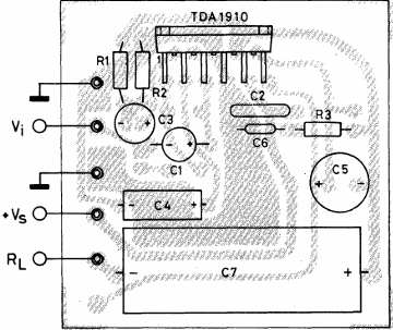
Con alimentación de 8 a 30 V la potencia de salida depende tanto de la tensión y de la carga. El circuito es del manual de circuitos integrados lineales de la SGS de 1982. El circuito integrado usado es poco común en nuestros días. La placa de circuito impreso se da junto al diagrama.





