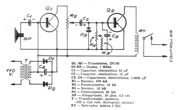
He encontrado este circuito de Vox o receptor acústico como originalmente llamado, en una publicación de 1973. El circuito puede utilizar transistores más modernos y un relé de 6 ò 12 V según el secundario del transformador. El micrófono es un pequeño altavoz de 8 ohms. El potenciómetro puede ser de 47k ya que el valor original no está estandarizado actualmente. El secundario del transformador puede tener cadenas de 250 mA o más.




