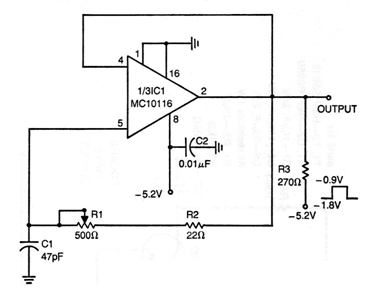
El amplificador operacional utilizado en este circuito de una publicación de los años 70 ya no se encuentra fácilmente en nuestro mercado, pero se puede utilizar un equivalente más común como el 741. El potenciómetro de 500 ohmios ajusta la frecuencia que se determina condensador. Este componente se puede cambiar en una amplia gama de valores. La tensión de alimentación, según el operacional, también puede ser alterada.




